424
تسعى شركة سامسونغ جاهدة إلى تطوير أساليبها في تأمين أجهزة و معطيات المستخدمين ، و هو ما أشارت إليه وسائل الإعلام المختصّة خلال السّاعات الماضية بعد رصدها لبراءة إختراع مدهشة سيتمّ إدماجها في ساعاتها الذّكية القادمة .
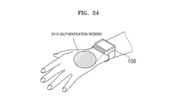
مشروع الإبتكار الجديد الّذي تمّ رصده مؤخّرا وضعته شركة سامسونغ منذ أيّام قليلة لدى ” المكتب الأمريكي للبراءات و العلامات التّجارية” و هو يتعلّق بمنظومة جديدة للأمن المعلوماتي متعلّقة بالتّعرّف على المستخدم عن طريق بصمة العروق الدّمويّة في معصمه .
و هذه الطّريقة الجديدة تنضاف إلى ما هو متوفّر حاليّا من خصائص التّعرّف على المستخدم عن طريق بصمة الأصابع و كذلك بصمة العين البيوميتريّة و غيرها ، حيث أصبحت هذه التّكنولوجيّات مدمجة فعلا في الأجهزة الإلكترونية منذ مدّة، و حسب هذا الإبتكار الجديد , فإنّ التّكنولوجيا المنتظرة ستعمل عن طريق مستشعر في السّاعة الذكية يقوم بالمصادقة بعد التّعرّف على المستخدم عن طريق العروق الموجودة في ظهر اليد والّتي تختلف من شخص إلى آخر ، حيث سيمكن استغلال هذه التّقنية في فتح قفل السّاعات الذّكية و الأجهزة المرتبطة بها بالإضافة إلى ميزات أخرى .


المصدر : Frandroid