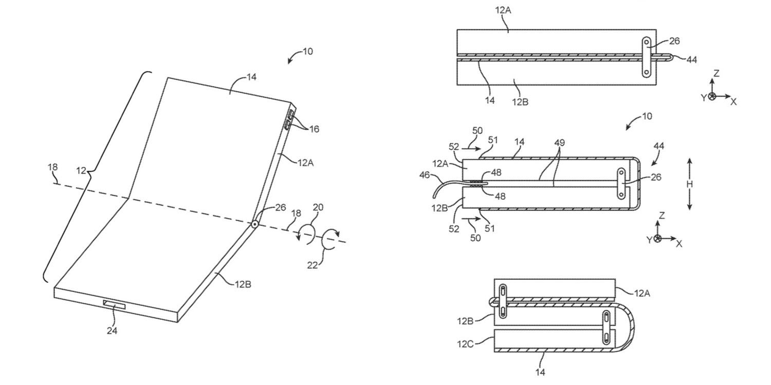
الرئيسية الموبايلبراءة اختراع جديدة تظهر التصميم الكامل لهاتف أبل القابل للطي