289
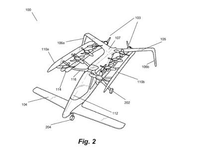
رغم محاولات “لاري بايج” أحد مؤسّسي غوغل الفاعلين على السّاحة من أجل إخفاء هويّة المشروع الجديد للشّركة , قد بائت بالفشل، حيث نشرت وسائل الإعلام العالميّة أولى المعلومات حول هذا المشروع الإبتكاريّ الجديد بالإضافة إلى صورة من براءة الاختراع الخاصّة به .
و أفادت هذه التّقارير منذ ساعات أنّ “لاري بايج” المدير التّنفيذي لشركة ألفابت (الشّركة الأمّ لـغوغل ) يعمل منذ مدّة على مشروع “سيّارة طائرة“، و هو الأمر السّرّي الّذي جاهد لسنوات من أجل إخفائه عن أعين الصّحافة و المتطفّلين.
و أشارت هذه التّقارير إلى أنّ عمليّة تطوير هذا المشروع تعمل عليها شركة تأسّست عام 2010 و تحمل إسم “Zee.Aero” و يوجد مقرّها بالقرب من مقرّ غوغل في منطقة “Silicon Valley ” حيث توظّف قرابة 150 موظّفا . و رغم أنّ الشّركة غير تابعة بشكل رسميّ لغوغل حيث ظلّت بعيد عن الأضواء ، إلاّ أنّ مصادر عالميّة أشارت أنّ لاري بايج أنفق ما يناهز 100 مليون دولار من ماله الخاصّ على هذا المشروع.
و تعمل شركة Zee.Aero على نموذجين من السّيّارات الطّائرة تشتغلان بالطّاقة الكهربائيّة ، كما أنّ شركة غوغل وجدت شركة أخرى تعمل في نفس المجال و تحمل إسم “Kitty Hawk” قد تضيف إلى المشروع بدورها .

