من الآن فصاعدا, ستسجّل علامة Nokia عودتها إلى سوق الهواتف الذّكيّة, و من المنتظر أن تدهش الجميع في المستقبل. المصنّع الفنلنديّ مستعدّ لفعل كلّ شيء لإسترجاع أمجاده القديمة, و نيّته للإبتكار و التّجديد لم تعد تخفى على أحد. سلسلة من براءات الإختراع أفادت بأنّ نوكيا تشتغل هي أيضا على هاتف ذكيّ منثني (pliant) , و أنّ الفكرة موجودة في معاملها منذ سنة 2005 ! و ماذا لو توصّلت نوكيا إلى تجاوز سامسونغ و LG في هذا المجال ؟
الهاتف الذّكيّ المنثني الأوّل من سامسونغ قد يتأخّر تاريخ ظهوره إلى سنة 2018, في وقت كنّا ننتظره في أجل لا يتجاوز الثّلاثيّة الثّانية من عامنا الحالي. و في هذه الأثناء, هناك مصنّع آخر يمكن أن يتجاوز سامسونغ و كذلك LG و يسحب البساط من تحت الجميع. هذا المصنّع ليس سوى نوكيا , سيّداتي و سادتي !
ملك الهواتف الجوّالة القديم يعمل هو أيضا على تكنولوجيّة تمكّن من تقديم أجهزة محمولة قابلة للطّيّ و الإنثناء , و الفكرة موجودة منذ سنة 2005, و ليست وليدة الأمس !
هذه التّكنولوجيّة الجديدة و القديمة في نفس الوقت, تمّت مراجعتها , في الواقع, عديد المرّات من جانب نوكيا. و قد تمّ تسجيل العديد من براءات الإختراع , منها واحدة خلال سنة 2013, قبل أن يتمّ عرض أوّل مفهوم تجريبيّ في سبتمبر 2016 الماضي , قبل أن يعود الحديث عن هذا الإبتكار ليطفو على السّطح مرّة أخرى اليوم.
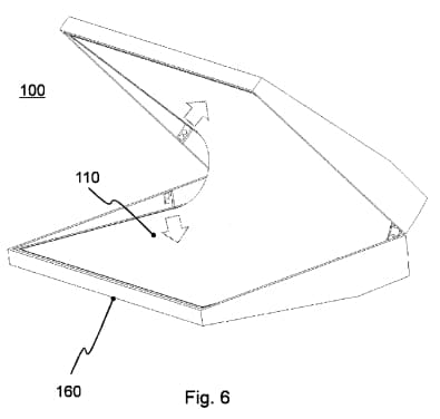
هذا الجهاز الجديد يأخذ هيئة و قيافة مرآة جيب , قادرة على الإنفتاح و الإنغلاق مثل حاسوب محمول . و ما إن يتمّ ثنيها, فهي ستقدّم سطحا لشاشة بينيّة كبيرة الحجم نوعا ما .

في هذه النّقطة, يختلف مفهوم نوكيا التّكنولوجي عن مفهوم جهاز سامسونغ المنثني ( و الّذي قد تطلق عليه الشّركة الكوريّة إسم Galaxy X1 plus). ففي هذا المفهوم, نلاحظ أنّ الشّاشة تنثني إلى الدّاخل , على عكس المنافس الكوريّ , حيث أنّ سامسونغ تخيّلت منتوجا “هجينا” يمكن أن يكون لوحة رقميّة و يتحوّل إلى هاتف ذكيّ حينما يقوم المستعمل بثنيه.
و نذكّر بأنّ الأمر يتعلّق بمفهوم أوّلي و براءة إختراع , و ليس بمنتوج منتهي. و من ثمّ, ما إن تتمّ بلورة كافّة جوانب هذه التّكنولوجيّة, يمكن إستخدامها في توافق مع أنماط الإستخدام.
الأمر يتعلّق ببراءة إختراع أوّلي , هذا صحيح. لكن من المهمّ جدّا أن نتذكّر أنّ نوكيا دائما ما ترجمت مفاهيمها التّصنيعيّة الأوّليّة إلى منتوجات حقيقيّة . و العملاق الفنلنديّ العتيق مستعدّ حسب كلّ المؤشّرات, لرفع الرّهان في جميع التّكنولوجيّات المستقبليّة.
لننتظر …..